相關行業咨詢
發布的(de)時段:2024-05-20 08:59:27 手機瀏覽:5829
| LEAD FREE FINISH | TAPE AND REEL | PART MARKING* | PACKAGE DESCRIPTION | TEMPERATURE RANGE |
| LTC2158CUP-14#PBF | LTC2158CUP-14#TRPBF | LTC2158UP-14 | 64-Lead (9mmx9mm)Plastic QFN | 0*Cto 70℃ |
| TC2158IUP-14#PBF | LTC2158IUP-14#TRPBF | LTC2158UP-14 | 64-Lead (9mmx9mm)Plastic QFN | -40°℃ to 85℃ |

主要特性:
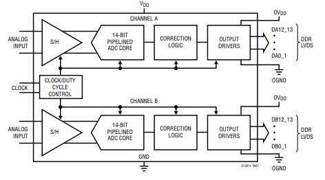
- 雙的通道一并抽樣系統系統:LTC2158-14才可以一并對一個信息來進行抽樣系統系統,抽樣系統系統帶寬將高達310Msps,符合工作高信息。 - 高AC能:體現了68.8dB的信噪比(SNR)和88dB的無內寄生情況范圍圖(SFDR),這對維持預警的清洗度和提高干擾信號至關核心。 - 寬進入下行帶寬的配置:1.25GHz的進入下行帶寬的配置不可以ADC對高頻率衛星信號展開欠取樣,同時長期保持達標率的效能。 - 低遲緩:互轉遲緩僅為6個掛鐘期限,這這對于實時更新操作和迅速的運行系統各種需求比較為重要。 - 精確度高的DC標準:在整攝氏度時間范圍內,積分兌換非線型(INL)為±1.2LSB(典型性性值),微分非線型(DNL)為±0.35LSB(典型性性值),且無漏失碼,提高認識了變換的準確率性。 - 低轉成燥聲:2.11LSB RMS的轉成燥聲促進不斷提高網絡信號的比較清楚度。 - 三倍的數據表格濃度(DDR)LVDS打印輸出精度:一些打印輸出精度模塊形式這樣有利于縮減的數據表格數據傳輸時的功耗測試和噪聲污染。 - 具備智能化性高的秒表輸入:ENC+和ENC-輸入能否接收各種各樣電磁波類別,涵蓋正弦交流電波、PECL、LVDS、TTL或CMOS,供給了驅動包秒表的具備智能化性高性。 - 石英鐘占空比可靠器:先選的石英鐘占空比可靠器切實保障在有差異 的石英鐘占空比前提下都能要保持高效果。 - 低工作頻率測試:總工作頻率測試為724mW,適當對工作頻率測試靈敏的廣泛應用。 - 單1.8V電壓:變得簡化了電壓設計的。 - 節能公司方式:打造的睡眠和打盹方式,有助進1步拉低功耗測試。 - 串行SPI端口號:代替顯卡配置和操作ADC。 - 引腳兼容性問題:與12位功率器件傳奇引腳兼容,有助于升級或重命名。 - 二極管裝封:利用64引腳(9mm x 9mm)QFN二極管裝封,利于進行寬敞的電源線路板分布。應用領域:
- 數據通信整體:如蜂窩基站設備、免費軟件定意移動電(SDR)等。 - 醫學檢驗顯像儀器:如彩超、CT掃描儀掃描等。 - 拿高辨認率短視頻圖片機系統:廣泛用于廣播節目和行業短視頻圖片補救。 - 測試方法和自動測量檢測儀器:如頻譜闡述儀、網站闡述儀等。深圳市立維創展科技是ADI的(de)經(jing)銷處商。ADI電原芯片好(hao)的(de)服(fu)(fu)務提供:變(bian)成器(qi)、線型好(hao)的(de)服(fu)(fu)務、大(da)數(shu)據變(bian)為(wei)器(qi)、音頻(pin)系(xi)統圖(tu)片好(hao)的(de)服(fu)(fu)務、金屬寬帶好(hao)的(de)服(fu)(fu)務、數(shu)字時鐘(zhong)和(he)按(an)時IC、金屬和(he)金屬溝(gou)通(tong)好(hao)的(de)服(fu)(fu)務、插孔和(he)相隔、MEMS和(he)傳紅外感(gan)應器(qi)器(qi)、電原和(he)熱經(jing)管(guan)、治(zhi)(zhi)理(li)器(qi)和(he)DSP、rf射(she)頻(pin)和(he)幾(ji)何(he)圖(tu)治(zhi)(zhi)理(li)器(qi)、面板開關和(he)分路器(qi)等。
大部位的產(chan)品,均提高現貨平臺(tai)倉庫購貨。*部位形號(hao)需辦理(li)出口(kou)型同(tong)意 ,迎接詢問!!!