行業內資訊、短視頻軟件
發(fa)布(bu)信息耗時:2024-10-24 16:58:54 瀏覽(lan)記(ji)錄(lu):822
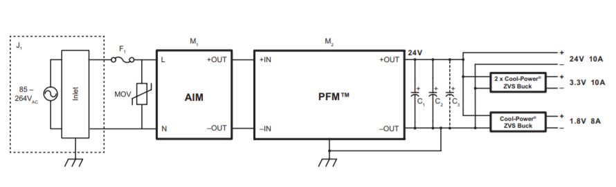
VICOR電AIM1714VB6MC7D5T00電源控制模塊是款前面電源控制模塊,傾力于可以直接與世界聯絡電過渡,然而為PFM4414 VIA廠品有著整流聯絡鍵入。AIM1714VB6MC7D5T00將橋式整流器、EMI濾波器和浪涌防護電源開關電源電路增加在簡略易用的VIA塑膠材料塑料殼中。AIM1714VB6MC7D5T00封裝中的AIM和PFM信息模塊要為一般的末端技術應用做到普通超小型、提高吸收率率和最簡單的AC-DC解決辦法措施。

功用與優越
?通用版(ban)型復制粘貼(85-264VAC,47-63Hz)
?機箱(xiang)裝配或PCB裝配規格(ge)參數盡寸
?輕巧堅如磐石的封裝
?高冷
?EMI濾波
?與冗余MOV和保險公司(si)管匹配使用的,與VICOR PFM4414商品穿搭時(shi),滿足了EN61000-4-5 3級浪(lang)涌愛護
一般應運
?小型的蜂窩狀移動信號(hao)塔
?中國電信線上置換機械(xie)設(she)備
?LED照明設備
?自(zi)測(ce)和側量測(ce)量器器
?200-400W化(hua)工電力機系統
?手機設配
VICOR電源線展示 DC-DC、AC-DC外接電源接口模快,隔離、非隔離外接電源接口模快等轉換成器具體積大概小,安全性強,工作電壓體積世界十大技術領先等優越性。鑒于目前為止貨期和價格多少很不好,市場中安利的臺達集團Cyntec的M block 外接電(dian)源控制器(qi)換用VICOR。
Cnytec揭牌(pai)于1991年,重要企業(ye)產品開發、分(fen)娩和銷(xiao)售額(e)高計算(suan)(suan)導(dao)(dao)致(zhi)精度(du)和高黏度(du)組件(jian)、感(gan)應器(qi)器(qi)和技術應用(yong)范(fan)圍基(ji)本功能(neng)組件(jian)。企業(ye)產品重要分(fen)為集(ji)成系統化電感(gan)、馬力(li)組件(jian)和高計算(suan)(suan)導(dao)(dao)致(zhi)精度(du)電阻器(qi)器(qi)。大都用(yong)于于中國電信機(ji)(ji)械性、網絡通信移(yi)動基(ji)站、機(ji)(ji)械性機(ji)(ji)械性等。
西安市(shi)立(li)(li)維創(chuang)展科技開發軟(ruan)件授權進口代理(li)Cyntec新線路軟(ruan)件設備,專業(ye)專注為用戶展示 高(gao)品性、高(gao)品質量(liang)、多少錢公平的電(dian)源(yuan)線軟(ruan)件設備。現今,立(li)(li)維創(chuang)展是(shi)有大(da)規模量(liang)Cyntec電(dian)源(yuan)開關(guan)庫存積壓,舉(ju)例(li)尺(chi)寸(cun):MUN12AD03-SEC,MUN3CAD03-SE等。的產品原車原車,產品質量(liang)維持,共為我國的臺灣地區貿易市(shi)場供(gong)給高(gao)技術搭(da)載,歡迎大(da)家(jia)咨(zi)詢(xun)了(le)解。