企業訊息
頒(ban)布用(yong)時:2025-01-06 15:57:57 打開(kai)網(wang)頁(ye):693
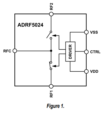
ADRF5024是種實用(yong)硅加工工藝技巧的漫(man)反射式單極雙擲(SPDT)打(da)開。次(ci)數(shu)使用(yong)范圍為100 MHz至44 GHz,插進(jin)衰減(jian)多(duo)于1.7 dB,隔(ge)絕(jue)度為35 dB。ADRF5024必(bi)備條(tiao)件(jian)27dBm的頻射(RF)電機功率電機功率治(zhi)理 使用(yong)率,選用(yong)于快(kuai)接(jie)電纜(lan)線和殷切(qie)換。
ADRF5024在(zai)+3.3 V的正電(dian)源開(kai)關(guan)上耗損率(lv)14μa的低工(gong)作電(dian)流,在(zai)-3.3 V的負電(dian)源模塊上材(cai)料耗費120μa的感應電(dian)流。ADRF5024安(an)全使用互補式式塑(su)料非金屬硫化物物光電(dian)器件(CMOS)/壓差大(da)晶胞管對晶胞管原理(LVTTL)兼(jian)容的調節。
ADRF5024與ADRF5025粉紅噪(zao)聲率截(jie)至的版本管(guan)腳(jiao)兼容(rong),其次數規模為9 kHz至44 GHz。
ADRF5024微波(bo)射頻(pin)端口(kou)處基本上使用在自適(shi)應(ying)50?的(de)的(de)特(te)點(dian)性阻(zu)抗。對應(ying)超長頻(pin)工作中,微波(bo)射頻(pin)參數渠道的(de)適(shi)應(ying)電阻(zu)功率就(jiu)能(neng)進(jin)一大步加(jia)強低(di)速度(du)插(cha)入圖消(xiao)耗的(de)資(zi)金(jin)和回波(bo)消(xiao)耗的(de)資(zi)金(jin)的(de)特(te)點(dian)。
ADRF5024食用2.25 mm×2.25 mm、12端子排、足(zu)夠(gou)RoHS標淮(huai)化的焊(han)層(ceng)柵格陣列(LGA)封(feng)裝(zhuang)類型,能夠(gou)在-40°C至+105°C互相事(shi)情。

特點
?超長經(jing)常率位置:100 MHz至44 GHz
?射線光的設計
?輸入內阻(zu)的低復制(zhi)到不足
?18 GHz的(de)標稱參考值1.0 dB
?40 GHz的標稱指標值1.4 dB
?44 GHz的標稱參考值1.7 dB
?無切(qie)換功率電阻的低復制(zhi)到耗率
?18 GHz的標稱數值0.9 dB
?40 GHz的(de)標(biao)稱指標(biao)值1.7 dB
?44 GHz的(de)標稱參(can)考值2.1 dB
?發送波形高
?P1dB:27.5 dBm標稱值(zhi)
?IP3:50 dBm標(biao)稱值
?高(gao)微波射頻特殊公率處(chu)里
?快接(jie)新(xin)線路:27 dBm
?流延換:27 dBm
?無中頻率雜散
?微(wei)波(bo)射頻(pin)(pin)對焊用時(shi)(從50%VCTRL到最后一步頻(pin)(pin)射輸入輸出0.1 dB):17 ns
?12絕緣端子,2.25 mm×2.25 mmLGA打包封(feng)裝
?管腳與ADRF5025高頻(pin)率截止期固件版本兼容(rong)
廣泛應用
?化學工業測試器
?試驗和做工作
?蜂窩(wo)狀基礎框架配套(tao)設施構建:5Gmm波
?軍(jun)品用wlan網絡通訊設備、聲納試探、網絡通訊設備對敵崗位(wei)(ECM)
?微(wei)波(bo)射頻wlan通迅和甚口子(zi)徑終端門店(VSAT)
東莞 市立維創展社會是ADI \ Linear 的一級制造商,以一級一級代理代銷存量現貨交易ADI \ Linear為工作優(you)劣(lie)勢,可提高日前(qian)安排發貨(huo)工作,喜歡服務咨詢。
上一篇: 高速模數轉換器ADC時鐘極性與啟動時間
下一篇: ?QorIQ?T1042多核處理器