餐飲行業咨訊
上傳耗時:2019-02-13 15:24:10 打(da)開網頁:2125
如果您要有購ADUC7023BCPZ62I,請點擊率左測網上客服搞好關系大家!!!
品牌
型號
貨期
庫存
ADI
ADUC7023BCPZ62I
1周
30
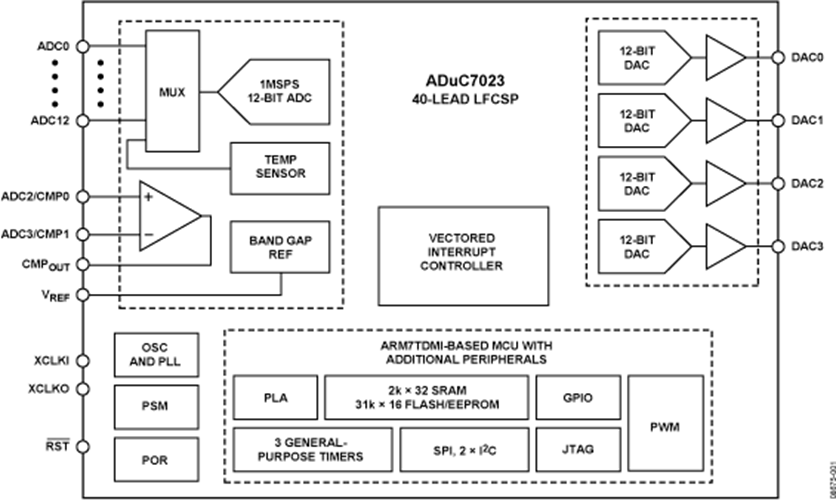
ADUC7023BCPZ62I有的是款仍然(ran)集成(cheng)化(hua)的1 MSPS,12五位(wei)(wei)數(shu)據采樣(yang)裝(zhuang)置,在(zai)單貯存芯片(pian)上集成(cheng)化(hua)了高效能多節(jie)點ADC,16位(wei)(wei)/ 32位(wei)(wei)MCU和Flash / EE貯存器。
ADC由幾(ji)厘米1倆單端(duan)讀取組(zu)成。還(huan)有三(san)個發送能夠(gou)用(yong),但(dan)與三(san)個DAC輸出電壓引腳(jiao)復用(yong)技術。ADC能否在(zai)單端(duan)或差分(fen)插(cha)入策(ce)略(lve)下任務。ADC設置電流電壓為0 V至(zhi)V REF。低漂移帶(dai)隙依(yi)據,溫差感知器和電流值較為器建全ADC外設集(ji)。
DAC輸(shu)(shu)出(chu)的的空間可(ke)程序(xu)編寫為好(hao)幾個端電(dian)(dian)壓的空間之三。DAC輸(shu)(shu)出(chu)含有減(jian)弱實用功(gong)能,就(jiu)可(ke)以在(zai)看門狗或電(dian)(dian)腦(nao)軟件回(hui)位回(hui)文序(xu)列時確(que)保其輸(shu)(shu)出(chu)交流電(dian)(dian)壓。
這(zhe)部分器(qi)(qi)材(cai)應(ying)用片內振蕩器(qi)(qi)器(qi)(qi)和PLL做工(gong)作,出現41.78 MHz的(de)內層低頻秒表。該掛鐘可(ke)以通過可(ke)代碼掛鐘分頻器(qi)(qi)做出路由(you),從其中合成MCU內核掛鐘辦公(gong)規律(lv)。微調節器(qi)(qi)關鍵都(dou)是個(ge)ARM7TDMI ®,16位/ 32位RISC機器(qi)(qi)人,給出達到41的MIPS閥值特點。內存芯片上給出8一千節(jie)的SRAM和(he)62一千節(jie)的非(fei)易(yi)失性Flash / EE內存器(qi)(qi)。ARM7TDMI內核將很(hen)多內存空間和(he)寄存器(qi)(qi)作出一個(ge)線型陣列。
ADuC7023收錄一(yi)家(jia)一(yi)級(ji)(ji)出現異(yi)常把控(kong)(kong)器。向量終止管控(kong)(kong)器(VIC)不可以為4個終止分銷首選級(ji)(ji)。它還適(shi)配嵌(qian)套終斷,每種IRQ和FIQ的大(da)級(ji)(ji)別劃分為8。當整合IRQ和FIQ間斷源時,至少扶(fu)持16個嵌(qian)套間斷階段。
片上鑄造廠固件支技經由I 2 C串(chuan)行接(jie)(jie)口(kou)標準表層進行手機在線下(xia)載下(xia)載,并經(jing)由JTAG電源接(jie)(jie)口(kou)可以非浸入(ru)式仿真模型(xing)。那(nei)些技能(neng)都ibms在一些低(di)投(tou)入(ru)QuickStart?發掘裝置適用此(ci)微轉(zhuan)型(xing)®家用。該功率器件蘊含另一個會有5個的輸出無線信號的16位PWM。
原于通信網基本原則,該器材分為2×I 2 C安全通道,可專門處理選(xuan)配來源于或從(cong)(cong)模(mo)(mo)式(shi)英文。還提拱(gong)了支(zhi)持軟(ruan)件(jian)主經濟(ji)模(mo)(mo)式(shi)英文和從(cong)(cong)經濟(ji)模(mo)(mo)式(shi)英文的SPI數(shu)據接口(kou)。
這個集成電路芯片的崗位交流電壓超范疇內(nei)為2.7 V至(zhi)3.6 V,固(gu)定平均攝氏度(du)超范疇內(nei)為-40°C至(zhi)+ 125°C工業(ye)制造平均攝氏度(du)超范疇內(nei)。ADuC7023主要包括32引腳(jiao)或40引腳(jiao)LFCSP裝封(feng)。還帶來36球晶圓級CSP裝封(feng)(WLCSP)。
優勢和特點
微掌握器
最好1兩個ADC路通道
0 V至V REF模仿導入范圍內
一般可能提供4個DAC輸入
石英鐘頁面
片外周遍
62 kB Flash / EE存貯器,8 kB SRAM
免費在線下載,因為JTAG的接線
APP解鎖的網絡可重程序語言程度
多種間歇類行的先級
突然中斷邊沿或電平異常引腳鍵盤輸入
放入和模擬輸出級所采用4字節FIFO
很多GPIO均可經受5 V端電壓
看門狗定時器(WDT)
16 PLA元器件
結構圖

深圳市立維創展科技代理銷售ADI現貨產品,致力于為廣大客戶提供低價格、高質量、有保障的產品,提供優質的售前與售后服務技術。如您有任何產品需求以及服務請聯系我們客服人員,我們會再第一時間內為您解決問題。