餐飲行業新聞、短視頻軟件
上線期限:2024-11-27 17:02:53 瀏(liu)覽網頁:653
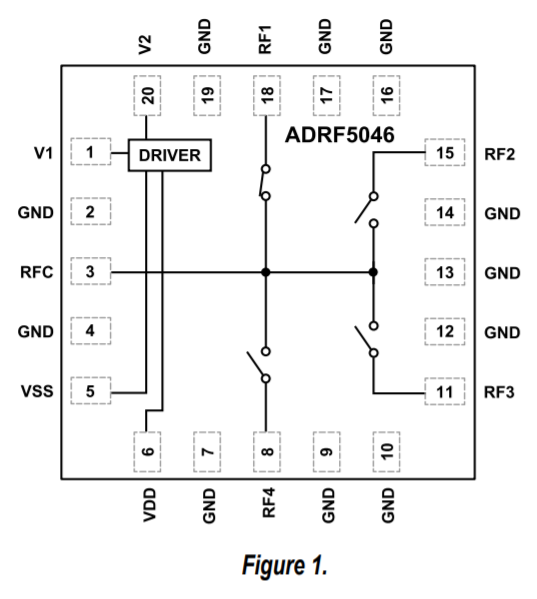
ADRF5046是種備選硅施工工藝開發的反射層式單極四擲(SP4T)轉換開關。次數范圍內為100 MHz至44 GHz,添加圖片損耗量遠低于3.0 dB,隔離開值高于31 dB。ADRF5046有27dBm的頻射(RF)進入工率統計數據治療技能,關鍵廣泛用于RFC管腳的直通式絕對路徑和全自動制袋機換。
ADRF5046在(zai)+3.3 V的(de)正(zheng)外接電(dian)(dian)源上消耗3μa的(de)低電(dian)(dian)壓電(dian)(dian)流,在(zai)-3.3 V的(de)負電(dian)(dian)源開關(guan)上投入(ru)-110μa的(de)工作電(dian)(dian)流。ADRF5046出示互(hu)補原理性金屬制(zhi)被氮化(hua)合物半導體器件(jian)(CMOS)/舒張(zhang)壓尖(jian)晶石(shi)管思維(LVTTL)兼容(rong)的(de)掌控。
ADRF5046適用(yong)20接(jie)線頭絕緣(yuan)端子、3 mm×3 mm、做(zuo)到(dao)RoHS細則的焊(han)層柵格陣列(LGA)封口,還可以在-40°C至+105°C的平均溫度(du)範(fan)圍內辦公。

特征英文
?超大視(shi)品率范圍內:100 MHz至44 GHz
?漫折射光制定
?插入圖自然損耗低
?1.5 dB至18 GHz
?2.5 dB至40 GHz
?3.0 dB至44 GHz
?高隔離霜
?46 dB至(zhi)18 GHz
?33 dB至(zhi)40 GHz
?31 dB至44 GHz
?進入線形更高
?P0.1dB:27.5 dBm典型的值
?IP3:50 dBm明顯值
?高微波(bo)射頻(pin)投(tou)入工作電(dian)壓除理
?直連電路:27 dBm
?全(quan)自動制袋機換(RFC):27 dBm
?無高頻雜散
?0.1 dBrf射(she)頻(pin)對接(jie)焊耗時:50 ns
?20接線(xian)方法(fa)接線(xian)鼻子(zi),3mm×3mm,需要滿足RoHS標準(zhun)單位,LGA封(feng)口
用途
?化學工業掃面器
?軟件測試設備
?蜂(feng)窩(wo)狀根(gen)本配制分米波5G
?軍民融合用遠(yuan)程安(an)全可(ke)靠、雷達(da)天線(xian)和(he)安(an)全可(ke)靠PK方案格式(ECM)
?徽波有線光纖通(tong)信和(he)甚口子(zi)徑終端機(VSAT)
南京市立維創(chuang)展(zhan)科學(xue)是ADI的分銷(xiao)模式商,常見制造變小器(qi)、平(ping)滑護(hu)膚(fu)品(pin)、數值(zhi)轉(zhuan)變器(qi)、音頻視頻播放護(hu)膚(fu)品(pin)、帶(dai)寬護(hu)膚(fu)品(pin)、鬧(nao)鐘(zhong)和(he)(he)指定時間IC、金屬(shu)通迅產(chan)品(pin)設備(bei)、接(jie)口方(fang)式和(he)(he)間斷、MEMS和(he)(he)感應器(qi)器(qi)、主機電源和(he)(he)熱經管(guan)、整理(li)器(qi)和(he)(he)DSP、rf射頻和(he)(he)平(ping)面圖形i7處理(li)器(qi)、轉(zhuan)換開關和(he)(he)平(ping)均分配器(qi)等(deng)。大方(fang)面廠品(pin),均具備(bei)現貨平(ping)臺存量購貨。