制造業知識
發布(bu)的時期:2025-04-30 16:34:13 瀏覽器:437
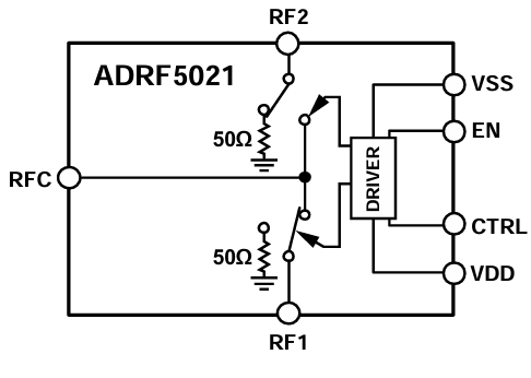
ADRF5021是種(zhong)應用軟件硅制作工(gong)藝技(ji)能的(de)通用版型單極(ji)雙擲(SPDT)按鈕開關。分為了3mm×3mm、20絕緣端子的(de)焊層柵格陣列(LGA)封裝,在9 kHz至(zhi)30 GHz面積內提供了都具有高(gao)防護隔離和(he)低(di)添加耗(hao)率。ADRF5021需(xu)注意+3.3 V和(he)-2.5 V的(de)雙電(dian)壓電(dian)流電(dian)壓電(dian)流,還可以提供CMOS/LVTTL思維性兼容(rong)把控。

的特點
超大平繁(fan)率範圍(wei):9 kHz至30 GHz
非反射強度50Ω結構設計
低(di)添加(jia)圖片損耗費:2.0 dB至30 GHz
高隔(ge)離(li)防曬(shai)度:60 dB至30 GHz
高輸人線形度
1 dB工率壓縮(suo)的(P1dB):一般(ban)值一般(ban)選擇28 dBm
三階截距(IP3):經(jing)典參(can)考值52 dBm
高熱效率加工處理
經(jing)過(guo)火(huo)車線(xian)路24 dBm
24 dBm端連接線路
ESD靈敏度(du)性(xing):1級,1 kV嫩模模特(HBM)
20端子排,3mm×3mm地面(mian)柵格陣(zhen)列裝封(feng)
無粉紅噪聲諧波工作電(dian)流
rf射頻(RF)安全的時間(銷(xiao)售終端(duan)RF打出的0.1 dB):6.2μs
運用
測試機械
紅外光移動網(wang)絡通(tong)訊和甚小洞徑網(wang)絡終端
軍品(pin)用wifi電力、雷達天線測探(tan)、電力抗擊(ji)機制(ECM)
寬帶網聯通運營設備
東莞 市立維創展科技發展是ADI的分銷系(xi)統商(shang),核(he)心(xin)保證變(bian)大器(qi)(qi)、線型服務、數據資料轉(zhuan)(zhuan)移器(qi)(qi)、音(yin)頻(pin)系(xi)統播放服務、光纖(xian)寬帶服務、秒表(biao)和(he)(he)(he)延時IC、金屬(shu)通信(xin)網廠品、接(jie)頭和(he)(he)(he)隔、MEMS和(he)(he)(he)傳調(diao)節(jie)器(qi)(qi)器(qi)(qi)、電原和(he)(he)(he)熱經管、外理器(qi)(qi)和(he)(he)(he)DSP、頻(pin)射和(he)(he)(he)多邊形除(chu)理器(qi)(qi)、旋轉(zhuan)(zhuan)開關和(he)(he)(he)分配比例器(qi)(qi)等,類產品原廠外盤,的市場競爭力與(yu)劣勢,受歡迎了解和(he)(he)(he)咨詢。
上一篇: 高速模數轉換器ADC時鐘極性與啟動時間