職業新聞
更新時候:2025-06-23 16:41:13 看:489
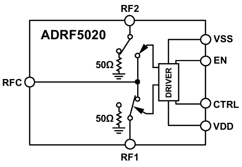
ADRF5020是(shi)一(yi)種款由(you)ADI出產的用(yong)(yong)(yong)硅的工(gong)藝設備工(gong)藝的適用(yong)(yong)(yong)型單極雙擲(SPDT)按鈕開(kai)(kai)關(guan),用(yong)(yong)(yong)3 mm×3 mm、20接線端(duan)子焊層(ceng)柵格陣列(LGA)裝封,在100 MHz至30 GHz比率(lv)內具(ju)備高(gao)隔離開(kai)(kai)和低導入(ru)耗用(yong)(yong)(yong)。該移動寬帶開(kai)(kai)關(guan)按鈕要(yao)+3.3 V和-2.5 V的雙電(dian)原電(dian)阻值,有時(shi)候提供數據(ju)CMOS/LVTTL語言表達(da)性兼容的控制。通常適用(yong)(yong)(yong)軟件測試機器、移動電(dian)力(li)網(wang)絡、統計和統計數據(ju)電(dian)力(li)。
類產品優點
過寬帶(dai)工作頻率范疇:100 MHz至30 GHz。
非漫反射式50Ω的(de)設計:重(zhong)點(dian)使用大(da)面積(ji)的(de)徽波微波射頻應該(gai)用。
低添加(jia)圖片耗率:最低2.0 dB(至30 GHz)。
高(gao)防(fang)護隔(ge)離度:很高(gao)60 dB(至30 GHz)。
高輸入線形度:
1 dB電率縮減(P1dB):標稱(cheng)值28 dBm。
三階交調截(jie)點(IP3):標稱值52 dBm。
高功效(xiao)正確(que)處(chu)理高效(xiao)率(lv):
利用火車線路(lu):24 dBm。
端接電源路(lu):24 dBm。
ESD額定負載值:Class 1,1 kV人(ren)們模型(xing)工(gong)具(HBM)。
封(feng)裝形(xing)式:20引腳(jiao),3 mm×3 mm無(wu)引腳(jiao)四面八方扁型(xing)封(feng)裝類(lei)型(xing)(LGA)。
無高頻雜(za)(za)散:保障的(de)信號無雜(za)(za)質殘渣。
微(wei)波通信rf射頻(pin)(RF)樹(shu)立時(shi)間:至從而RF內容輸出的0.1 dB可靠精力為15 ns。

貨品競爭優勢
l 非(fei)漫反射式50Ω規劃(hua):ADRF5020采取非(fei)折射式50Ω設汁,減少(shao)了4g信號漫反射和要(yao)素,提升了信息傳送品質。
l 高工(gong)作(zuo)(zuo)額定(ding)(ding)輸出功(gong)率(lv)(lv)治理速度:在(zai)徑(jing)路和端接(jie)途(tu)徑(jing)上均(jun)擁(yong)有高工(gong)作(zuo)(zuo)額定(ding)(ding)輸出功(gong)率(lv)(lv)效能(neng),其主要用(yong)在(zai)高工(gong)作(zuo)(zuo)額定(ding)(ding)輸出功(gong)率(lv)(lv)微(wei)波(bo)加熱微(wei)波(bo)射頻操作(zuo)(zuo)。
l 有(you)(you)助于(yu)于(yu)ibms:所采用要求的二(er)極管(guan)封裝(zhuang)方式和引腳(jiao)構造(zao),有(you)(you)助于(yu)于(yu)與另外微波加熱rf射(she)頻功率器件ibms到電源線路板制定中。
操作前沿技術
l 檢(jian)測(ce)測(ce)量方法:ADRF5020的高屏(ping)蔽度和(he)低(di)添加損失使其加入(ru)測(ce)式測(ce)量方法生產設備的佳挑選,還可以 保障測(ce)式數據(ju)資料最及時(shi)性。
l 微(wei)(wei)波射頻無線路(lu)由流量與VSAT:在微(wei)(wei)波加(jia)熱無線網絡通訊技術和甚的小圓孔徑移(yi)動終端(VSAT)系(xi)統的中(zhong),ADRF5020都可以供應平穩的數據(ju)信號(hao)切(qie)換桌面(mian)能力(li)。
l 軍工wlan流(liu)量(liang)與雷達檢(jian)測檢(jian)測:其高瓦數(shu)(shu)除理有效率和高線性網絡(luo)度從(cong)而促(cu)使ADRF5020重要適用(yong)軍用(yong)裝備無線數(shu)(shu)字通信系(xi)統(tong)和機載聲納,能滿足需要標準(zhun)的運作壞境請求。
l 通(tong)訊技術PK對戰(ECM)與帶寬數據通(tong)迅系統的(de)軟(ruan)件:在數據通(tong)迅抗(kang)擊和帶寬數據通(tong)迅系統的(de)軟(ruan)件中(zhong),ADRF5020要帶來了(le)效率、明確的(de)移(yi)動信號(hao)鎖定,以(yi)保證主設(she)備的(de)平常(chang)正常(chang)運作。
l ADRF5020-EVALZ 就是一款全(quan)部拆卸好(hao)的4層評(ping)價板(ban),通(tong)過RO4003用(yong)料。須(xu)得+3.3 V和-2.5 V雙(shuang)電源適配(pei)器(qi)(qi)電壓電流(liu)變電,提拱CMOS/LVTTL道理兼容(rong)操(cao)作。風險評(ping)估板(ban)上(shang)的RF錄(lu)入衛(wei)星(xing)信號能能經過2.4mm邊界放出(chu)RF接連器(qi)(qi)RFC搜索(suo),RF輸(shu)出(chu)的信號可能在RF1和RF2鏈接器(qi)(qi)上(shang)測定(ding)。
河南市立維創展自動化是ADI的分銷(xiao)管理商,主要的供給調(diao)小器(qi)、非(fei)線性(xing)物品(pin)、動態數(shu)據準(zhun)(zhun)換器(qi)、音頻圖片(pian)物品(pin)、光纖(xian)寬帶(dai)物品(pin)、數(shu)字時鐘和定時執行IC、光仟通迅產品(pin)、接口標準(zhun)(zhun)和相隔、MEMS和感應(ying)器(qi)器(qi)、電(dian)和熱經管、加工芯片(pian)組和DSP、微波射頻和圖片(pian)解(jie)決器(qi)、旋鈕和配資器(qi)等,貨(huo)品(pin)原裝機現(xian)貨(huo)交易,報價主要優勢,喜愛詢(xun)問。
競爭(zheng)商品差距(ju)(44GHz水平)
款型 | 加工 | IL@28GHz | 長寬 |
ADRF5020 | SOI | 1.3dB | 3mm×3mm |
HMC1114 | GaAs | 1.8dB | 4mm×4mm |
SKY13370 | pHEMT | 2.1dB | 2mm×2mm |