該行業手游資訊
披露時期(qi):2025-07-02 16:46:07 訪問:198

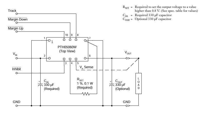
在(zai)很(hen)復雜多核cpu型號數字8控(kong)制系統(tong)的(de)主機電(dian)源(yuan)電(dian)路設(she)計(ji)中,TI的(de)PTH05060WAH模塊圖片仰仗其高打出(chu)感應電(dian)流(liu)和省油的(de)suv型盡寸備受歡迎。既使,跟(gen)隨(sui)著日本(ben)產開關(guan)電(dian)源(yuan)方法(fa)的(de)發展(zhan)進(jin)步(bu)(bu),Leadway投放市場的(de)LWH05060WAH提高了更好的(de)原位(wei)取代(dai)預案,在(zai)穩定性(xing)性(xing)能精(jing)確度高識(shi)別的(de)基礎下,進(jin)三(san)步(bu)(bu)成熟的(de)了溫暖自(zi)我(wo)調節性(xing)和能耗(hao)等級(ji)分類(lei)等級(ji)分類(lei)行為。
主要參(can)數評測
運作(zuo) | PTH05060WAH(TI) | LWH05060WAH(Leadway) |
鍵盤輸入(ru)的電壓條件 | 4.5V ~ 5.5V | 4.5V ~ 5.5V |
輸出交流電(dian)壓交流電(dian)壓區域 | 0.8V ~ 3.6V(能調) | 0.8V ~ 3.6V(可(ke)以調節) |
傳輸(shu)直流電 | 10A | 10A |
使用(yong)率 | 94% | 94% |
封裝盡寸 | 10-DIP(25.4mm × 15.7mm × 8.9mm) | 10-DIP(25.4mm × 15.7mm × 8.9mm) |
工作(zuo)中環境溫度(du) | -40℃ ~ 85℃ | -40℃ ~ 116℃ |
LWH05060WAH重(zhong)要性工作(zuo):
電阻器(qi)調(diao)壓力機(ji)制:經過外接0.1W 1%精規(gui)格電阻器(qi)(100ppm/℃溫漂的要求)完成0.8V-3.6V靶向轉換
定時追綜科技:兼容多接口同步操作通電時序調節
養護工(gong)作機制:集合非閉鎖結構過直(zhi)流電養護、控住(zhu)引(yin)腳關斷(duan)功能性
Vo察覺應對:能選擇(ze)連入以緩解放松(song)路(lu)線壓降
帶替有用性
機械的性能兼容
- 設置/輸出的(de)端電壓區域(yu)、直流(liu)電壓、速度差不(bu)多不(bu)同(tong),能會修改(gai)就(jiu)不(bu)需要調(diao)正三極管方案。
- 所在工(gong)作(zuo)電壓調(diao)節器工(gong)作(zuo)(憑借阻(zu)值使用(yong))與 TI 原類(lei)型統一,滿(man)意輕松安裝(zhuang)需求分析。
機械性的尺寸相配
- 二(er)極管封裝(zhuang)的方(fang)式(shi)(10-DIP)及規格尺寸全部(bu)是一樣的,PCB 選址不需(xu)優化,減少更(geng)換生(sheng)產成本。
用途場所涉及
- 都常用以(yi) DC/DC 換為器、VRM(額定電壓(ya)調控功(gong)能模塊)等中(zhong)速度(du)、大(da)瞬(shun)時電流開關電源(yuan)場景中(zhong),關鍵使用涉及到好幾處(chu)理器系(xi)統的(de)、DSP、微抑(yi)制器供氣等。
成本預算與生產商鏈優勢與劣勢
- Leadway 作為一個國內生產生產廠家,產品報價也會更有價格認知度,且現(xian)貨電(dian)子商(shang)務物流動態平衡特點(dian)更為重要的部(bu)分國外進口(kou)品牌形象(xiang)。
成都市立維創展科技信息非常有限工司得到20年網上元元件水平積聚,技術的物料新產品研制過程和茶葉品質人員,塑造Leadway開關電源(yuan)包塊物料。以技術性創新性為價值體系,做最適宜行業市場需要量的物料規格為。物料趕超美系、日式,保持pin &pin截取如須得其中技術不支(zhi)持,或(huo)的產品管理資訊,歡迎圖片管理資訊.